API 624标准明确了带石墨填料的明杆和升降旋转阀杆阀门的低泄漏型式测试的要求和验收标准(100ppmv),之前是按照API622来测试的。填料需满足在-29°C 到538 °C (–20 °F到1000 °F)下使用。此型式测试包含的要求是按照EPA21的原理。尺寸大于NPS24或压力大于class 1500的阀门不在此标准之内。
5.1 测试的介质需用最小纯度为97%的甲烷。 注意:测试期间使用的甲烷是一种加压可燃气体,要求采取适当的安全措施。
5.1.1 阀门的测试具有潜在的危险,必须把人员的安全放在首位考虑。鉴于此测试的性质,可能会发生加 压气体危险的释放。需在测试封闭区域提供充分的屏障或隔离以及恰当的人员保护措施。
5.1.2 测试设施需设计成可确保所有的测试状况是在安全,有保护的环境下进行。测试厂家有责任去分析 由于压力和温度造成的危害,并作出适当的安全保护措施。应遵守所有可适用的安全法规。
5.1.3 所有的设备需有相应的证书证明其可以承受最小和最大的压力以及测试环境的温度。
5.1.4 供应甲烷的进口和出口所用的软管和管道应可适用最大和最小压力和温度。当用到软管时,需设计 适当的控制系统来防止万一发生介质吹出时,软管从测试台面分离。
5.1.5 所有测试需遵守当地和国家的相关法律法规。
5.2 测试的阀门的阀杆方向需是垂直的。
5.3阀门需根据图1进行总共310个机械循环和3个热循环周期。阀门在室温情况下开始做机械循环。若买方 有要求,可选做在–29 °C (–20 °F)的低温测试(见下图)。
阀门循环试验
5.4 阀门可用内部热源或者如电热毯,线圈等外部热源来加热,也可用其他合适的设备或适当的内部热源 来加热。
5.5 加热温度应升高至260 °C (500 °F) ±5%
5.6 可适用的材料的测试压力需低于41.4barg(600psig),或根据ASME B16.34在 260 °C (500 °F)下的 最大允许压力值,并且在整个测试期间保持不变。
5.7 测试的阀门可安装一种使阀门机械循环的驱动。此驱动不可强加给阀杆或填料额外的侧边载荷。第一 次和最后一次的测试需记录运行扭矩值。
5.8 需记录静态和动态的阀杆泄漏测量值。见图1.
5.8.1 泄漏需在静态空气中进行测量。测试期间应使用铝箔外壳来屏蔽受环境影响的潜在的渗漏通路。铝 箔外壳应包括阀杆外径和填料的外径。
5.8.2 需对中道连接和辅助连接进行泄漏探测。中道连接和辅助连接的泄漏会影响泄漏测量的读数,应在 测试之前纠正过来,并在报告中记录。阀盖的探测针头的速率应该在每秒25mm(1英寸)。应调整仪器来弥补 后台的甲烷水平。
5.8.3应在以设备反应时间两倍的时间延迟后,记录静态/动态泄漏。
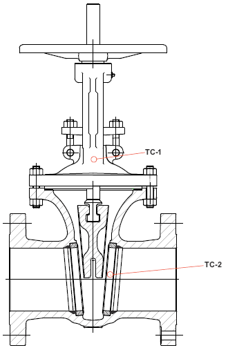
5.9 阀门应配备热电偶来监测测试期间的温度。应在两个位置监测并记录温度。(见下图)
5.9.1 TC-1处,附在填料箱上。附在填料箱上的热电偶需控制温度。
5.9.2 TC-2处,固定在阀体外部,临近流通路径的地方,可作为参考测量。
5.9.3 TC-2处,需与TC-1处值同等或大于TC-1处
5.10 不允许在型式测试过程中调整填料。

温度位置
一、 所有与测试阀门设计相同,并满足以下限制的阀门都可被视为已做型式测试。
1. 对所有API602的阀门,尺寸为NPS 3/4,压力为class 800的测试阀门可涵盖所有尺寸为NPS 1及以 下,压力800#及以下的阀门。对所有API602的阀门,尺寸为NPS 1 1/2,压力为class 800的测试阀门,可 涵盖NPS 1 1/4到NPS 2 1/2,压力为class 800及以下的阀门。
2. 对所有API602的阀门, 尺寸为NPS3/4, 压力为class 1500的测试阀门可涵盖所有尺寸为NPS1及以 下,压力为class 1500的阀门。对所有API602的阀门,尺寸为NPS 1 1/2,压力为class 1500的测试阀门可 涵盖尺寸为NPS 1 1/4到NPS 2 1/2,压力为class 1500的阀门。
3 .对于其他阀门
a) 尺寸为NPS 4的阀门可涵盖所有这个直径以下的阀门,以及比这个阀门大一个直径以及低一个压 力等级的阀门。
b) 对于尺寸大于 NPS 4 的阀门,测试阀门可涵盖比测试阀门小 2 个和大一个公称尺寸以及低一个压 力等级的阀门。
4. API 624提供了一个建议测试阀门列表,可满足本规范要求(见下表)。
二、任何阀门阀杆密封系统的更改包括,但不仅限于,填料材料,填料厂家或填料类型/型号,都需重新 认证。
三、如果阀门生产商的地址有别于 API624 证书所列地址,买方可要求重新认证。
表 B.2 根据 API602 生产的用于测试的闸阀尺寸与压力
NPS | CLASS |
3/4 寸 | 800 |
1 1/2 寸 | 800 |
3/4 寸 | 1500 |
1 1/2 寸 | 1500 |
表 B.2 根据 API602 生产的用于测试的截止阀尺寸与压力
NPS | CLASS |
3/4 寸 | 800 |
1 1/2 寸 | 800 |
3/4 寸 | 1500 |
1 1/2 寸 | 1500 |
表 B.3 根据 API600 生产的用于测试的闸阀尺寸与压力
NPS | CLASS |
4 寸 | 150 |
4 寸 | 600 |
4 寸 | 1500 |
12 寸 | 150 |
12 寸 | 600 |
12 寸 | 1500 |
20 寸 | 150 |
20 寸 | 600 |
表 B.4 根据 API603 生产的用于测试的闸阀尺寸与压力
NPS | CLASS |
3/4 寸 | 150 |
1 1/2 寸 | 600 |
4 寸 | 150 |
4 寸 | 600 |
12 寸 | 150 |
12 寸 | 600 |
20 寸 | 150 |
20 寸 | 600 |
上一篇:没有了!
下一篇:没有了!